摘要:熱泵可實現節能。把熱泵冷凝器發熱用于印刷涂布烘干,把冷卻用于車間及辦公樓制冷,可一舉兩得。利用熱泵實現涂布機節能減排。
一、熱泵的工作原理及優點
熱泵技術是二十一世紀的一個能源技術,通過熱泵的形式,可以提高能效的利用,能效的利用有兩個含義,從環境角度來講,可以減少溫室氣體的排放,減少對環境的有害因素,從另外一個方面來說,就是解決電力高負荷的一項技術。
正如水由高處流向低處那樣,熱量也總是從高溫區流向低溫區。如同采用水泵把水從低處提升到高處一樣,我們也可以采用熱泵把熱量從低溫抽吸到高溫。所以熱泵實質上是一種熱量提升裝置,熱泵的作用是從周圍環境中吸取熱量,并把它傳遞給被加熱的對象。
熱泵按照逆卡諾循環原理工作,在工作時,它本身消耗一部分能量,把環境介質中貯存的能量加以挖掘,通過傳熱循環系統提高溫度進行利用,而整個熱泵裝置所消耗的功僅為輸出功中的一小部分,因此采用熱泵技術可以節約大量高位能源。在運行中,蒸發器從周圍環境中吸取熱量以蒸發傳熱工質,蒸汽經壓縮機壓縮后溫度和壓力上升,高溫蒸氣通過冷凝器冷凝成液體時,釋放出的熱量傳遞給儲水箱中的水或空氣等熱媒。冷凝后的傳熱工質通過膨脹閥返回到蒸發器,然后再被蒸發,如此循環往復。
壓縮機用1份電,可以搬運幾份的熱量,這樣較好理解。熱泵同樣遵循物理學的能量轉換和守恒定律。壓縮機消耗的電能,通過機械能,由摩擦做負功轉換為熱能,在冷凝器里散發出來。有些對熱泵認識膚淺的人,往往把壓縮機消耗電能與整個熱泵系統轉移的能量兩個不同的概念混淆起來,認為有多少電就只能產生多少熱量。空調(熱泵的一種)都標有能效等級(一般為3~4),就是表明一度電可以搬運幾倍的能量。
熱泵有四大優點,第一是節能,有利于能源的綜合利用;第二是有利于環境保護;第三是冷熱結合,設備應用率高,節省投資;第四是電驅動,調控比較方便,因此熱泵備受大家關注,在美國等國家近幾十年來快速發展。
二、熱泵技術在印刷包裝領域的應用
印刷包裝車間往往需要恒溫恒濕,夏天辦公樓等地方也需空調制冷,而印刷涂布機需烘干,要用到熱風。若把熱泵制冷用于車間及辦公樓,而把熱泵另外一端產生的熱量用于印刷涂布烘干系統,再加上熱泵制冷制熱有幾倍的熱效率,這樣熱泵上消耗一度電,就可實現搬運幾倍熱量的效果,可大大節省電費,是一種環保節能的好方案,值得大力推廣。
印刷行業用得較多的是空氣能熱泵熱水機。空氣能熱泵系統通過自然能(空氣蓄熱)獲取低溫熱源,冷卻后空氣用于車間、辦公樓、吹膜機等制冷;冷凝器放出熱量用來加熱水,用于取(供)暖或供應熱水到印刷涂布機烘干系統熱交換器,加熱烘箱進氣,整個系統集熱效率甚高。
下面為印刷包裝工廠常用的加熱方式年運行費用成本比較
????????? 
其中運行費用最低的為太陽能+熱泵方式,它是通過太陽能裝置加熱熱水,熱水流經印刷機、涂布機、復合機、熟化室的熱交換器,用熱進水量的大小來控制烘干的溫度;在沒有陽光的時候,系統通過空氣熱泵利用空氣中的熱能提供熱水。國內像南京兆凱等企業在太陽能+熱泵應用方面已經有很多成功案例。
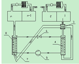
三、熱泵技術在涂布機上的應用
熱泵技術還可以運用到涂布機上,以達到封閉式無VOC排放且節能清潔生產的目的。
????????? 
圖中,1為第一段烘箱,2為第二段烘箱,3為烘箱熱風與蒸發器冷凝后氣體的熱交換器,4為熱泵蒸發器,5為熱泵壓縮機,6為熱泵節流閥,7為風管,8為熱泵冷凝器。
涂布機前段烘箱溶劑濃度較高,采用充惰性氣體(如氮氣、二氧化碳)形成閉式干燥系統,烘箱1排氣用熱泵蒸發器經過冷卻析出溶劑(可循環利用),再經過壓縮冷凝器加熱后,熱風循環利用到烘箱;后段采用傳統的熱風烘干方式,保證產品殘余溶劑不超標。蒸發器經過冷卻后氣體,再與烘箱出來的熱氣逆向叉流做熱交換(如圖3所示),經烘箱排出熱氣預熱后再通過風管7送到冷凝器加熱,再送回到涂布復合機最后的烘干箱n。后面烘箱抽出來的尾氣回用到前面烘箱,使總的對外排氣量減少,利用熱泵技術,把排氣冷卻后用熱泵蒸發器6冷凝,回收溶劑,把排風通過熱泵冷凝器8加熱,再把加熱后溫度較高的氣體送回烘箱循環利用。這樣可實現無溶劑排放,既環保,又節能。
因實際使用的有機溶劑如苯類、酯類、酮類等有機溶劑屬易燃易爆物品,為提高冷凝前氣體濃度,減少能耗,提高冷凝效果,保證操作生產過程的安全性,烘箱循環利用氣體最好為不含氧氣(或氧氣濃度較低),可用氮氣、二氧化碳或其混合氣體等無毒經濟的惰性氣體來代替原來的空氣。